JF Ptak Science Books Post 1919
I am quite certain that entering into a category of ElectoPunk Found Art was the furthest/furtherest thing from the minds of these inventors, mainly because these words didn't yet exist, and also because these inventors worked on practicable application of the relatively new employment of electricity for advertising. Still, they were serious efforts in pursuing the sale of soap and cigars and "pure food" and other sundries large and small. But removing them fro their intentions clearly makes these designs into art, some of which is just drop-down gorgeous.
http://www.google.com/patents/US936226?dq=illuminated+signs
Source: Google Patents--
http://www.google.com/patents/US987335?dq=sign
Source: Google patents-
http://www.google.com/patents/US1088869?dq=illuminated+signs
Source: Google patents-- http://www.google.com/patents/US653003?dq=illuminated+signs
Source: Google Patent--http://www.google.com/patents/USD38405?dq=illuminated+signs
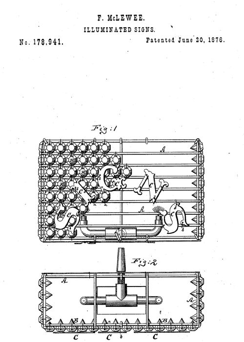
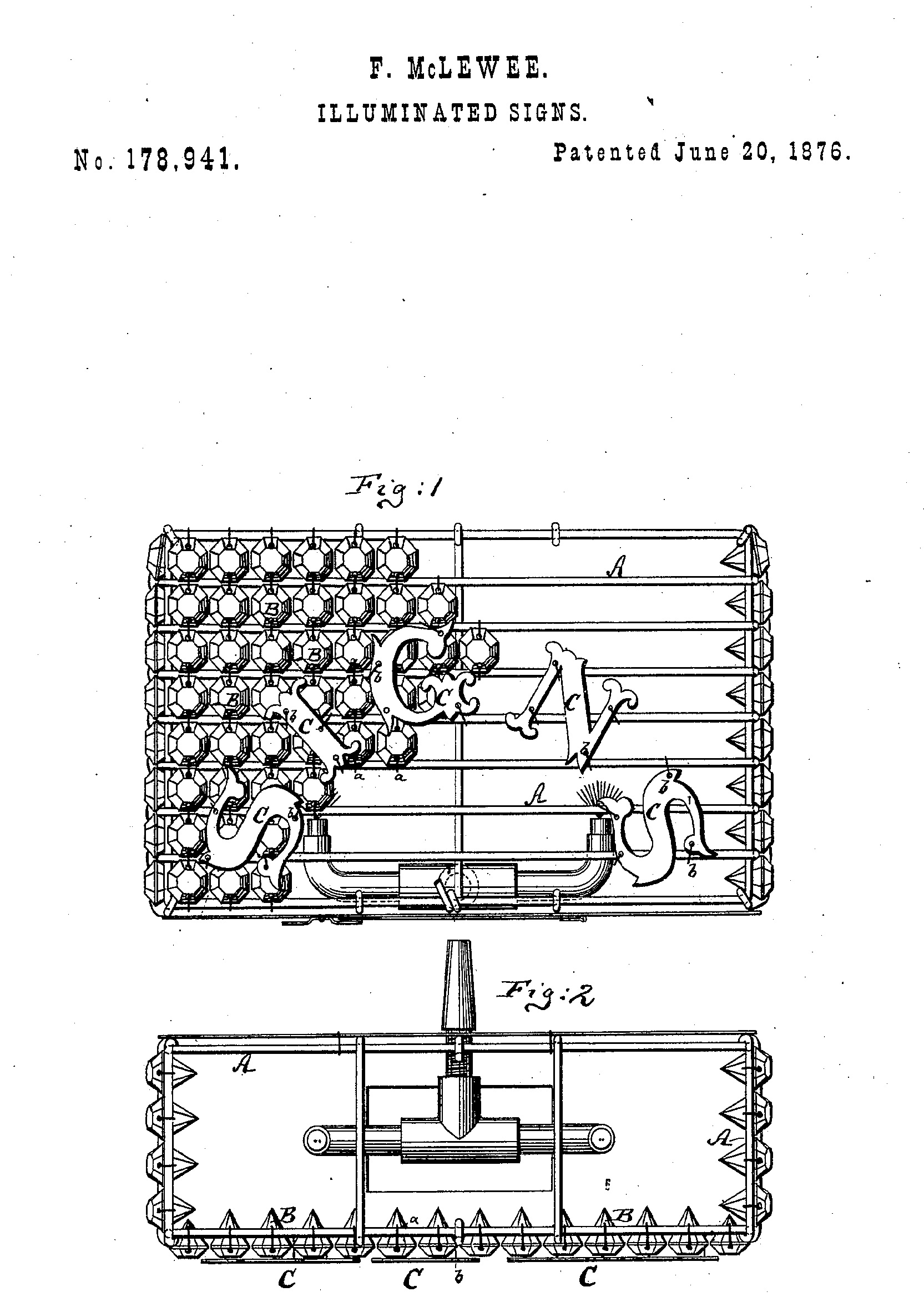
Source: Google Patents--http://www.google.com/patents/US178941?dq=illuminated+signs






Comments